2025年2月,美国专利商标局(USPTO)批准了耐克的一项关于新型3D打印鞋类制造工艺的专利。这项技术突破在于将数字设计直接3D打印到织物材料上,用于制作鞋面,并能直接在上面3D打印出鞋底,摒弃了传统的两部分制鞋方法。
技术细节与优势
这种创新方式提供了高度的材料定制化能力,设计师能够精确调整鞋子的强度、刚度、支撑性、柔韧性和耐磨性等性能。通过去除传统制鞋过程中使用的厚重粘合剂、缝线以及多余的材料层,能够实现更轻盈的设计,同时也减少了生产过程中的材料浪费,使得个性化定制更加环保可持续。
专利的主要发明者是David P. Jones和Ryan R.
Larson。Jones在直接于织物上进行3D打印以组装服装方面拥有多项专利,而Larson作为Nike鞋类缓冲创新数字和3D缓冲系统总监,在增材制造领域有着丰富的经验。他们于2023年12月首次提交此专利申请,2024年4月公开,并于2025年2月正式获得批准。
△耐克新专利的鞋类 3D 打印工艺
耐克与3D打印的长期探索
实际上,耐克对增材制造并不陌生。早在2013年,耐克就推出了首款使用SLS(选择性激光烧结)技术3D打印的足球鞋Vapor Laser Talon。这款鞋以其仅158g的重量,为运动员提供了更快的冲刺速度和更好的抓地力。
△3D打印的足球鞋Vapor Laser Talon
随后几年间,耐克继续深化其在3D打印领域的探索。例如,2016年公司利用惠普的Multi Jet Fusion (MJF)
3D打印技术,推出了专为奥运冠军Allyson Felix设计的Zoom Superfly Flyknit跑鞋。通过采用SLS
3D打印技术来优化钉鞋原型,大大缩短了产品开发周期,加速了从概念到市场的进程。
△Nike Zoom Superfly Flyknit
近年来,耐克不断推进3D打印技术的应用范围,从最初的原型设计逐步扩展到了大规模生产。比如,Air Max 1000运动鞋几乎完全由3D打印制成,这款鞋在拉斯维加斯的ComplexCon展会上首次亮相,并限量发售1,000双,引起了广泛的关注。
△3D 打印的 Nike Air Max 1000 的侧面图
新专利带来的未来展望
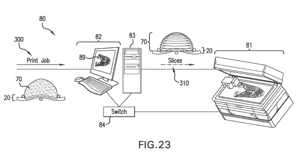
根据最新专利文件描述,首先需要为鞋子的各个部分创建精确的3D数字模型。然后,在3D打印机中放置一块平放的织物,各种油墨或树脂可以直接挤出到织物表面形成所需图案。这些材料在固化前可能会稍微渗透进织物,确保最终产品的坚固性和灵活性。整个过程还包括紫外线固化步骤,以增强织物与打印材料之间的结合力。
△耐克最新专利-3D打印鞋面
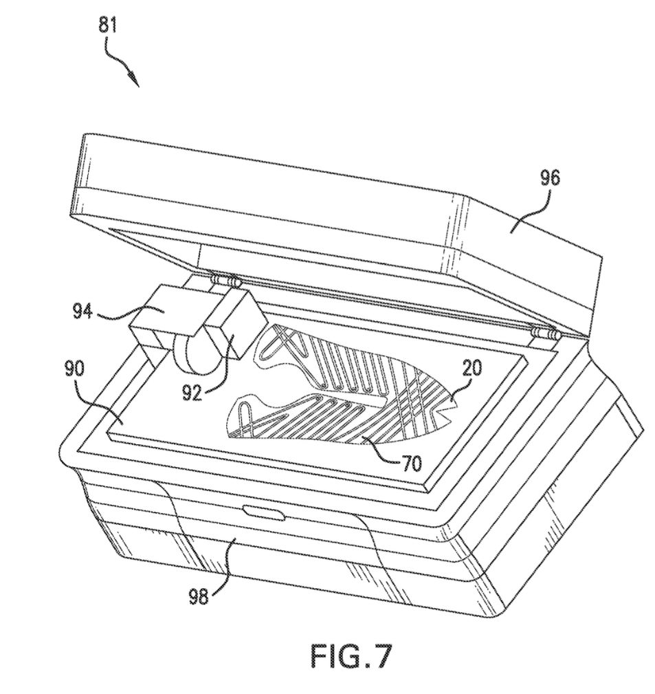
此外,这项专利还展示了如何将鞋底直接打印到已经成型的鞋面上,以及如何通过添加额外的部件,如鞋垫,来改善穿着体验。而且,这项技术不仅仅局限于运动鞋,还可以应用于正装鞋、休闲鞋、凉鞋等多种类型,应用十分广泛。
△鞋底 3D 打印工艺
不仅如此,这份专利还表明,除了鞋类产品,这项3D打印技术还能用于制造包括帽子、夹克在内的多种服饰及配件。这与Stratasys推出的J850
TechStyle时尚3D打印机的理念不谋而合,两者都旨在通过技术创新推动服装行业的可持续发展,让衣物焕发出新的生命力。
耐克新3D打印专利:革新3D打印制鞋工艺
评论
◎欢迎参与讨论,请在这里发表您的看法、交流您的观点。

0 留言