耐克本周获得了一项3D打印专利,这使其能够加速3D打印鞋的生产,最重要的是,重申了其依靠增材制造优势提供创新产品的愿望。该专利于2023年12月首次提交,现已获得美国专利商标局(USPTO)的授权。具体而言,这一声明使耐克成为3D打印鞋领域的领先制造商之一,无论是定制、性能,还是提供更耐用的鞋子。该专利解释了制作鞋子的所有步骤,从鞋面到鞋底,并展示了3D技术如何影响该行业。
这家美国公司在增材制造领域显然尚未起步。事实上,耐克已经推出并开发了几款采用3D打印设计的鞋子。多年来,其运作方式和产品想象已经有了很大的发展,我们可以看到3D技术在多大程度上成为了该品牌制造流程的一部分;这现在已经成为其DNA的一部分。有很多例子和应用案例,从2016年与HP的首次合作到最近与Zellerfeld围绕著名的Air Max的合作。该品牌刚刚获得的专利本身并不是一场革命,而是表明它是鞋类领域真正的创新者,并且可以走得更远。
采用3D打印设计的Air Max 1000运动鞋
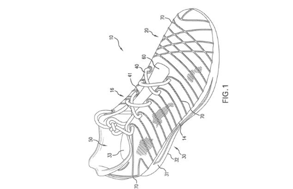
因此,美国专利商标局授予的专利涵盖了耐克设计其鞋子所采用的增材制造工艺。首先,用3D技术对鞋面和鞋底进行建模。然后,将一块织物放在3D打印机板上:打印机将在其上放置墨水、聚合物甚至树脂来设计所需的图案。根据需要,织物的某些区域或多或少会被机器沉积的材料覆盖。完成此步骤后,材料通过紫外线固化,从而实现织物和材料之间的真正结合。因此你可以想象任何关于茎的设计。
第二步是将鞋底直接3D打印到鞋面上。这里可以使用多种材料,无论是柔性的还是更刚性的,这都取决于所需的舒适度。该专利指出,任何类型的鞋子都可以通过3D打印,包括田径鞋、网球鞋、足球鞋、自行车鞋等。增材制造方法在运动和设计方面开辟了许多前景。
鞋子可以有多种定制方式
正如您所了解的,这项专利为耐克在生产定制、耐用和舒适的鞋子方面迈出了更大的一步。还特别指出,该方法不仅限于鞋类制造,还可以扩展到服装、配饰等制造。无论如何,我们迫不及待地想看看耐克将利用3D技术开发出什么。
编译整理:3dnatives

0 留言